Поиск товара:

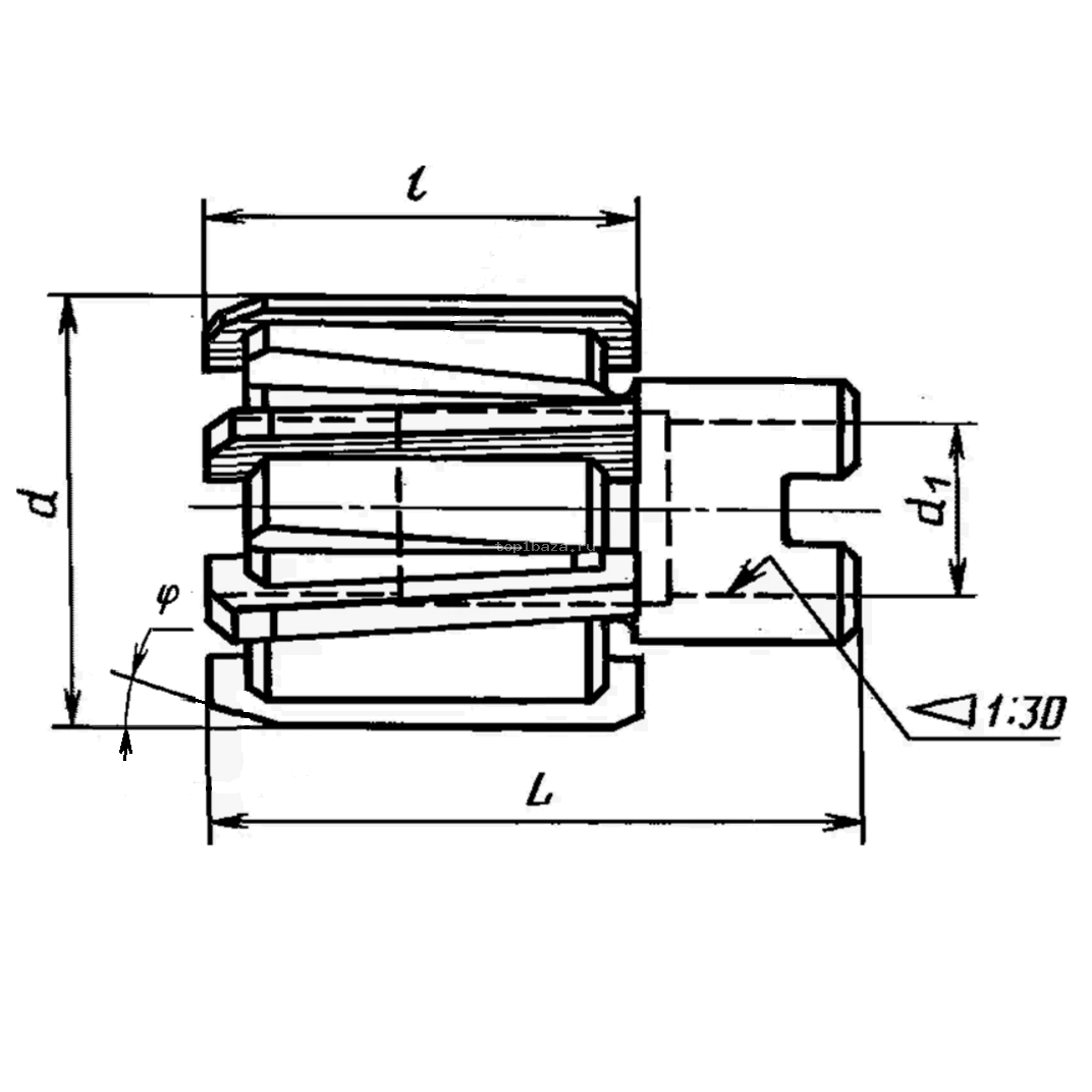
Развертка насадная со вставными ножами d62 Н9(А3) Р6М5 (L-59мм, l-31мм, d-62мм, d1-22мм, z-8, ф-15°)

Артикул: 47915

Состояние: Новый

Кол-во на складах: 2 шт.

Вес: 640

Описание товара: L-59мм, l-31мм, d-62мм, d1-22мм, z-8, ф-15°

Цена:
3 728 Руб.
Цена на товар указана с учетом НДС 5%

Счет на оплату придет автоматически, после оформления заказа через корзину.

Доставка по всей России