Поиск товара:

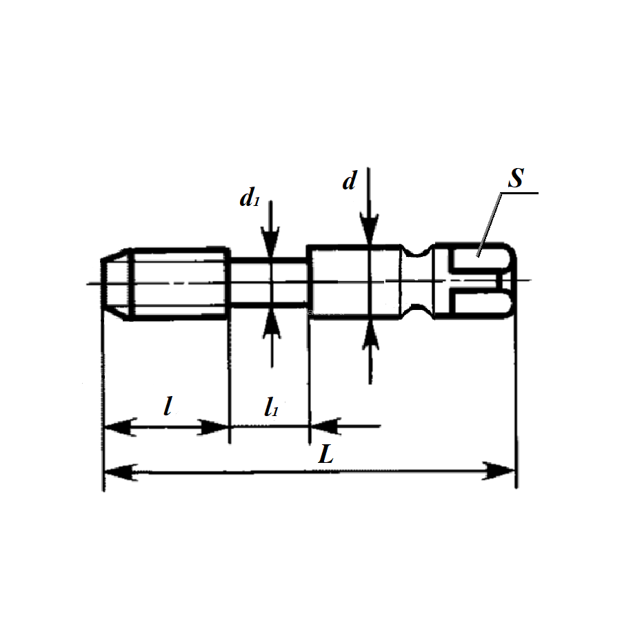
Метчик 2620-1221 машинно-ручной М8х1,25 Р6М5 (однопроходный) для глухих отверстий ГОСТ 3266-81

Артикул: 48384

Состояние: Новый

Кол-во на складах: 0 шт.

Вес: 20

Описание товара: Диаметр отверстия под резьбу-6,75мм; L-70мм, l-20мм, l1-11мм, d-8мм, d1-6мм, S-6,2мм. тип отверстия-глухое; вид шага-основной; канавка-прямая; сплав- Р6М5; без покрытия.

Цена:
189 Руб.
Цена на товар указана с учетом НДС 5%

Счет на оплату придет автоматически, после оформления заказа через корзину.

Доставка по всей России